
Hot Products
產品中心



特點說明
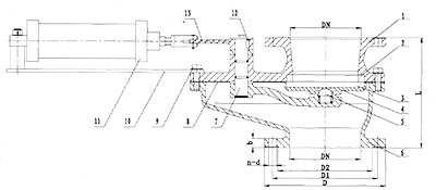
該系列閥門替代圓頂閥、翻轉閥、吊中閥、雙閘板閥門用作倉泵的進料門,也可用于礦山、化工等各類有磨損的干灰、水渣等介質的管道上作啟閉之用。使用公稱壓力1.0MPa,適應溫度≤200℃,氣源壓力0.6—0.8MPa。
本閥門關閉后任何方向全部密封。閥體閥蓋采用WCB鑄鋼件或不銹鋼鑄件。密封面采用硬密封件。
本閥料口全流通無阻擋物有吹堵裝置,耐磨性能強,密封性能好,啟動負荷小卡灰及結灰現象少。
本閥采用高檔曾韌結構陶瓷密封,機械強度高耐磨性能好使用壽命長。結構緊湊可任意角度安裝。
