三年在线观看免费大全_日本大一大二大三在一起读吗电影_电视剧免费观看电视剧大全在线_免费观看nba直播网站

歡迎進入浙江億核閥門有限公司官網!
熱門資訊:
地址:浙江省溫州市永嘉縣甌北塘頭工業區
手機:18968921198
銷售部:0577-67381813
傳真:0577-67381819
郵箱:sale@yh1818.com
網站:m.tjxsdianl.com

Hot Products
產品中心

當前位置:首頁 > 產品中心 > 氣動陶瓷對夾雙閘板閥

氣動陶瓷對夾雙閘板閥

所屬類別:
產品適用:
產品型號:
訂購熱線:18968921198


竭誠歡迎新老顧客與我們攜手合作,共創輝煌!



特點說明

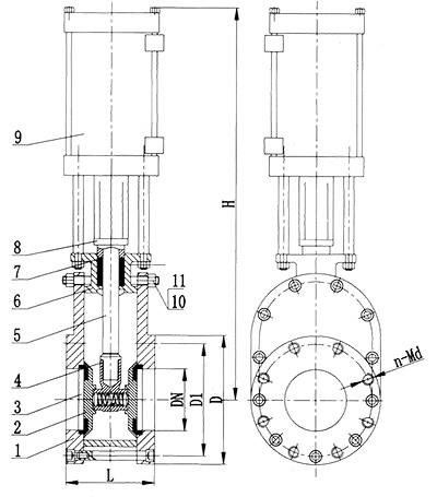
本閥適用于發電廠干灰系統、倉泵出料輸送,也可適用于礦山、造紙、化工等個類有磨損的干粉塵、高硬度的顆粒例如(灰渣水)等介質,或有軟顆粒但又有腐蝕性的介質的管道上作啟閉之用。公稱壓力1.0MPa,適應溫度≤200℃,氣源壓力0.6-0.8Mpa。

本閥門關閉后任何方向全部密封。閥體中間體系用WCB鑄鋼件及無縫鋼管焊接。密封面采用硬密封件。

本閥料口全流通無阻擋物有吹堵裝置,耐磨性能強,密封性能好,啟動負荷小卡灰及結灰現象少。

本閥采用高檔曾韌結構陶瓷密封,機械強度高耐磨性能好使用壽命長。結構緊湊可任意角度安裝。



返回
地址:浙江省溫州市永嘉縣甌北塘頭工業區   電話:0577-67381812   67381813   67381818   67381819
手機:18968921198   郵箱:sale@yh1818.com   網站:m.tjxsdianl.com
Copyright © 2017浙江億核閥門有限公司   備案/許可證編號為:浙ICP備17003980號-1   技術支持:中國泵閥網
掃一掃關注我們二維碼
展開